för Renault, Alpine, Gordini 4CV, Juvaquatre, Dauphine, Floride, Caravelle, Estafette, R4, R5, R6, Alpine A108
 | Nyhet!
Vår senaste och mest avancerade fördelare! En universal 123-TUNEplus som är programerbar trådlöst via Bluetooth 4.0 (low energy) med IOS app eller Android app för många Renault "Billancourt" motorer som och kan även fås med vinklad fördelarlock.
Passar bl a i Renault Renault CV4, Renault Juvaquatre, Renault Daupine, Renault Ondine, Renault Floride, Renault Caravelle, Renault Estafette, Renault 4 "Laban", Renault 5, Renault 4F4, Renault 4F6, Renault 6, Alpine A108 m fl
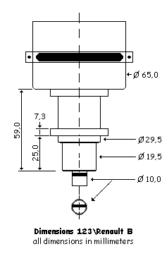
Obs. kontrollera måttritningen för att se om den passar i din motor.
Pris 3 994,00 kr ex moms, 4 992,50 kr inkl moms
|
123-TUNEplus erbjuder bl a
- Valfri rotationsrikning medurs/moturs (detekteras automatiskt)
- Valfri spänning 6/12V (detekteras automatiskt)
- Variabel dwell (detekteras automatiskt), dvs. modulen anpassar sig till tändspolen och tändspolen kan inte överhettas
- Tändningen bryts inom 1s när motorn står stilla (detekteras automatiskt), skyddar tändspolan och förkopplingsmotstånd blir överflödig
- Valfri polaritet, för positiv- och negativjordade bilar
- Appen med elektronisk instrumentbräda som visar:
- Motortemperaturmätare (valbart i grader Celsius eller Fahrenheit)
- MAP insugsgrenrörstryck (valbart i Bar eller inches Hg / PSI)
- Varvtalsmätare (0 till 8000 varv / min vevaxel)
- Spänning (bilbatteri)
- Gnistenergi (primär spolströmmen)
- Total tändförställning (i vevaxelgrader)
- Hastighet, via GPS i enheten*)
- Programvaran gör det möjligt att ändra tändförställningen i fördelaren.
- Centrifugal tändförställning melan 500-8000 varv, över 8000 vpm är tändförställningen konstant
- Vakuum-/Boost- MAP tändförställning (0 till 200 kPa eller -30 inHg till 15 psi)
- Boost retard-inställning för turboöverladdade motorer
- Varvtal tröskel när vakuum- tändförställnings aktiveras
- Max varvtal /varvtalsbegränsning

- Med 123-TUNEplus och tillhörande appen kan man dessutom:
- Aktivera en startspärr med kodlås. När startspärren är aktiv och någon försöker att starta motorn ändå "dör" motorn nästan direkt för att avskräcka tjuven
Installationsmanual på engelska
Lägsta enhets/systemkrav för 123-TUNEplus:
IOS
iPhone/iPod 4S eller senare (med blåtand 4)
Tune+ app för IOS direktlink till appstore:
eller:
Android
Mobil/surfplatta med Android 4.3 eller senare och blåtand 4, det finns dock blåtand problem i ANDROID 7.0 så den just denna version rekommenderas inte!
Tune+ app för Android direktlink till google play
*) GPS i mobilen används för hastighetsmätaren
|
|